氣管插管是一項重要的急救技術,用于保持呼吸道通暢,通氣供氧,以及防治誤吸等。

氣管插管
一、定義
氣管插管是將一特制的氣管內導管,通過口腔或鼻腔,經聲門置入氣管內的方法。它是搶救呼吸功能障礙患者的重要措施。
二、目的
氣管插管的主要目的包括:
保持呼吸道通暢,防止誤吸。
便于清除氣道內的分泌物。
提供有效的通氣供氧,滿足機體的通氣和氧氣供應需要。
便于吸入麻醉藥及進行全麻下的呼吸管理。
三、適應癥
氣管插管適用于以下情況:
自主呼吸突然停止者。
不能滿足機體的通氣和氧氣供應需要而需機械通氣者。
不能自主清除上呼吸道分泌物、胃內容物反流或出血隨時有誤吸者。
存在上呼吸道損傷、狹窄、阻塞等影響正常通氣者。
中樞性或周圍性呼吸衰竭者。
四、測試要求
參照標準 ISO 5367、YY 0337.1-2002等相關標準要求、氣管插管產品注冊審查指導原則(2023年修訂版)
五、氣管插管檢測儀器設備介紹
眾測機電研發生產的氣管插管套囊充起直徑測定儀DTN-ZJ支持三個測試項目套囊充起直徑、插管縮陷試驗方法、套囊突出試驗方法

氣管插管套囊充起直徑測定儀
測試設備匯總:
序號 | 產品名稱 | 型號 | 數量 | 品牌 | 備注 |
1 | 導管套囊充氣直徑測試儀 | DTN-ZJ | 1臺 | Pubtester | 0-50KPa量程、水浴溫控 |
2 | 套囊充起直徑測定連接件口 | 適配DTN-ZJ | 1套 | Pubtester | YY0337.1-附錄A |
3 | 插管縮陷試驗方法工裝 | 適配DTN-ZJ | 1套 | Pubtester | YY0337.1附錄B,含鋼球19顆、透明亞克力管10個、工裝 |
4 | 套囊突出試驗方法工裝 | 適配DTN-ZJ | 1套 | Pubtester | YY0337.1附錄C,帶把手透明亞克力管10個,透明管支架,100g砝碼、工裝 |
六、測試方法
(1)套囊充起直徑的測定
A.1當套囊充入一使其剛伸展開皺折而又對囊壁造成的張力最小的壓力時,測量其充起直徑A.2 儀器
A.2.1 充起套囊的手段,能提供足夠的空氣,使內部達到(2.0±0.1)kPa的正壓。
A.3 步驟
A.3.1 用空氣(A.2.1)充起套囊,使內部達到(2.0+0.1)kPa的正壓,在(23±2)℃下穩定5min,保持該壓力。
A.3.2 從垂直于管軸的最大套囊平面上每間隔45°測量套囊直徑
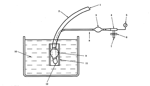
(2)插管縮陷試驗方法
B.1氣管插管的套囊在一透明管中充起后,用一鋼球通過其管腔,以此測量插管抗套囊內壓所引起的縮陷。
B.2 儀器
B.2.1 透明管,用玻璃或剛性塑料材料制成,其長度約為套囊有效長度的兩倍,內徑為供試氣管插管
標稱外徑的兩倍,偏差在5%之內。
B.2.2 水浴,溫度控制在(40士1)C。
B.2.3 供氣源,能提供表B.1給出的壓力。
B.2.4氣壓指示裝置,能指示表B.1所給氣壓,精度為士5%。
B.2.5 鋼球,直徑為供試氣管插管標識規格(公稱內徑)的75%。

插管縮陷試驗裝置
3、套囊突出試驗方法

C.1 原理 :向透明管中充起后的套囊施加一軸向力后,試驗套囊在垂直于管軸方向是否超出斜面的最近端。
C.2 儀器
C.2.1 B.2.1、B.2.2、B.2.3和B.2.4中規定的裝置C.2.2重物,質量為100g。
C.3.1 使套囊在透明管(C.2.1)中,用空氣(C.2.1)以附錄B所確定的試驗充氣壓充起套囊,但不小
于5.4 kPa,在(40士1)℃水浴中保持該壓力 24 h。
C.3.2放置 24h后,從水浴中取出氣管插管和透明管,檢查套充氣壓,必要時進行調節。
C.3.3 反轉氣管插管和透明管,按圖C1所示,使透明管保持固定位置,向氣管插管上輕輕懸掛 100g的重物(C.2.2)不少于60s。
C.3.4 觀察充起的套囊的任何部分是否超過斜面的最近邊緣(如圖C.1所示)。在不短于10s的時間內逐漸對套囊放氣,持續觀察套囊狀態。
C 結果表示
記錄套囊充起部分是否超出了斜面的最近邊緣,如圖C.1所示。

套囊突出試驗裝置
聯系人:眾測機電
手機:18660817670
電話:18660817670
郵箱:1844233077@qq.com
地址: 山東省濟南市高新區銀豐國際生物城A3-2
網站:m.yxhbsl.com
QQ:
3325919032